本文介绍的是松江云安J-XAPD-02A-B防爆消火栓按钮的安装布线,供用户方便在安装使用时做参考所用。

J-XAPD-02A-B防爆消火栓按钮端子图
将J-XAPD-02A-B按钮的面板从按钮的防爆壳体上取下,最后松开按钮防爆外壳的紧固螺丝,打开隔爆腔,按照端子图的接线方法接好按钮,【S+、S-】接火灾报警控制器的回路总线,【LED+、LED-】接乐鱼在线(中国)泵启动后的点灯反馈信号,【OUT/K】接乐鱼在线(中国)泵启动。连线接好后,写入地址号,地址号唯一,不得重号。最后将按钮的防爆上盖装好,紧固螺钉应均匀拧紧,注意防爆闭合面不要夹杂导线或其它异物。

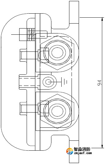
J-XAPD-02A-B防爆消火栓按钮结构图
松江云安J-XAPD-02A-B型防爆消火栓按钮为压下式带自锁,需要人工报警时,用力将按钮前面盘的有机玻璃压下,按钮即可向报警控制器发出报警信号;如需对已按下的按钮进行复位操作,可将复位钥匙插入复位孔中,即可实现复位,此结构方式具有很好的防误动性及可恢复性特点。
江苏苏州智淼乐鱼在线(中国)安装工程公司主营:北京乐鱼在线(中国)施工安装,乐鱼在线(中国)工程设计,乐鱼在线(中国)维修改造,乐鱼在线(中国)设备检测,乐鱼在线(中国)验收代办,乐鱼在线(中国)维修保养,探测器清洗,乐鱼在线(中国)检测设备,智慧乐鱼在线(中国)物联网,乐鱼在线(中国)设备销售安装及调试为一体的正规化乐鱼在线(中国)企业。乐鱼在线(中国)改造网址:/;服务热线:4006-598-119








苏公网安备32058102002151号