
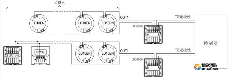
LD3600G总线短路保护器接线图:

TC1、TC2:探测二总线,无极性
OUT1、OUT1:二总线输出线

LD3600G-L双向短路保护器接线图:

TC1、TC2:探测二总线,有极性

LD4900G中继模块接线图:

TC1、TC2:探测二总线,无极性
OUT+、OUT-:TC电压输出,接非编码设备
每只中继模块可以带1~20只利达非编码普通感温探测器,或1~10只非编码感烟探测器。模块输入端末端并联一个10KΩ的终端电阻。

LD6800G-1输入/输出模块接线图:

TC1、TC2:探测二总线,无极性
24V+、24V-:24V电源,有极性 (不接电源会报故障)
HD+、HD-:回答信号
OUT+、OUT-:有源输出信号
COM、NO:无源常开点输出信号
COM、NC:无源常闭点输出信号

LD6800G-2输入/输出模块接线图:

TC1、TC2:探测二总线,无极性
24V+、24V-:24V电源,有极性 (不接电源会报故障)
HD1+、HD1-;HD2+、HD2-:回答信号
OUT1+、OUT1-;OUT2+、OUT2-:有源输出信号

LD6801GP输入/输出模块接线图:

TC+、TC-:探测二总线,有极性
HD+、HD-:回答信号
OUT+、OUT-:有源输出信号

LD6801GM输入/输出模块接线图:

TC1、TC2:探测二总线,无极性
HD+、HD-:回答信号
OUT+、OUT-:有源输出信号

LD6801GK输入/输出模块接线图:

TC1、TC2:探测二总线,无极性
HD+、HD-:回答信号
COM、NO:无源常开点输出信号
COM、NC:无源常闭点输出信号

LD6803G输入/输出模块接线图:

TC+、G:多线盘输出24V,有极性
HD、G:回答信号
OUT1、G:有源输出信号
OUT2、G:备用

LD6804G输出模块接线图:

TC1、TC2:探测二总线,无极性
24V+、24V-:联动电源输出
背景输入:背景广播音频输出
报警输入:接收控制器启动/停止命令
广播输出:乐鱼在线(中国)广播音频输出

LD6804GT输出模块接线图:

TC1、TC2:探测二总线,无极性
背景输入:背景广播音频输出
报警输入:接收控制器启动/停止命令
广播输出:乐鱼在线(中国)广播音频输出

LD6806G中继模块接线图:

TC1、TC2:探测二总线,无极性
OUT+、OUT-:TC电压输出
24V+、24V-:24V电源,有极性

LD6806G-L中继模块接线图:

TC+、TC-:探测二总线,有极性
TC1+、TC1-:TC电压输出1
TC2+、TC2-:TC电压输出2
江苏苏州智淼乐鱼在线(中国)安装工程公司主营:北京乐鱼在线(中国)施工安装,乐鱼在线(中国)工程设计,乐鱼在线(中国)维修改造,乐鱼在线(中国)设备检测,乐鱼在线(中国)验收代办,乐鱼在线(中国)维修保养,探测器清洗,乐鱼在线(中国)检测设备,智慧乐鱼在线(中国)物联网,乐鱼在线(中国)设备销售安装及调试为一体的正规化乐鱼在线(中国)企业。乐鱼在线(中国)改造网址:/;服务热线:4006-598-119








苏公网安备32058102002151号